НОВОСТИ   БИБЛИОТЕКА   КАРТА САЙТА   ССЫЛКИ   О ПРОЕКТЕ  






предыдущая главасодержаниеследующая глава

4. Уход за шлаковыми летками и выпуск верхнего шлака

В современных доменных печах полезным объемом более 600 м3 делают две шлаковые летки, из которых одна расположена под углом 45 - 60° к чугунной летке, а другая под углом 60 - 90° к первой.

Шлаковые летки находятся ниже горизонта воздушных фурм на 1400 - 1600 мм и предназначены для периодического выпуска шлака из печи. Они обычно расположены между воздушными фурмами для удобства обслуживания, а также для предотвращения разгара кладки горна.

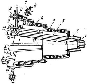
Рис. 101. Шлаковый прибор: 1 - фурма; 2 - медный холодильник; 3 - чугунный холодильник; 4- амбразура; 5 - подводящие и отводящие трубы охлаждения; 6 - кожух печи; 7 - рама летки; 8 - полоса; 9 - клинья для крепления труб; 10 - клин; 11 - упор для фиксации прибора при повышении давления в печи
Рис. 101. Шлаковый прибор: 1 - фурма; 2 - медный холодильник; 3 - чугунный холодильник; 4- амбразура; 5 - подводящие и отводящие трубы охлаждения; 6 - кожух печи; 7 - рама летки; 8 - полоса; 9 - клинья для крепления труб; 10 - клин; 11 - упор для фиксации прибора при повышении давления в печи

Шлаковый прибор (рис. 101) состоит из медной полой охлаждаемой водой фурмы 1, литого медного холодильника 2, чугунного холодильника 3 и чугунной амбразуры 4 с залитыми охлаждающими спиральными трубками. Все эти детали выполнены коническими, что облегчает их замену. Холодильники плотно, без зазоров, вставляются один в другой.

Диаметр отверстия шлаковой фурмы составляет 50 - 65 мм (в зависимости от объема печи). Она может служить до 30 дней. Фланцы амбразуры прижаты к кожуху печи клиньями 10. Шлаковые летки, как и чугунная, являются одним из ответственнейших узлов горна; за ними требуется тщательный уход.

Выпуск верхнего шлака1 является залогом успешной работы печи, так как передержка шлака замедляет ход печи, в результате чего падает производительность. Неполное удаление шлака через шлаковые летки может привести к тому, что емкость шлаковозов, поставленных под выпуск чугуна, окажется недостаточной. Печь не будет продута, т. е. в печи останется часть чугуна и шлака. Это в свою очередь может привести к уменьшению длины чугунной летки, что обусловит при следующем выпуске перевод печи на "тихий ход" и снизит ее производительность. Чтобы во время выпуска удалить максимальное количество верхнего шлака, необходимо тщательное обслуживание шлаковой летки, которое сводится к своевременному ремонту футляра и поддержанию в исправном состоянии шлаковых канав.

1(Верхний шлак - количество шлака, находящееся выше уровня шлаковых леток.)

Шлаковая фурмочка и амбразура должны быть установлены тщательно (без зазоров) и надежно закреплены. Трубы, подводящие воду, необходимо хорошо защитить футляром от воздействия высоких температур при выпуске шлака.

Для подготовки шлаковой летки к выпуску верхнего ковша необходимо прежде всего изготовить футляр. Для этого в шлаковый прибор набивают запорную глину, утрамбовывают ее и прорезают отверстие до шлаковой фурмы. Глина необходима для защиты амбразуры и холодильников шлакового прибора от прогара. Через хорошо набитую шлаковую летку можно налить 10 - 12 ковшей шлака без ее ремонта. Подготовка шлаковых желобов, проложенных от шлаковой летки и от главного желоба, аналогична.

Выпуск верхнего шлака начинается примерно через 50 - 60 мин после окончания выпуска чугуна. О необходимости выпуска верхнего шлака судят по количеству загруженных в печь подач.

Для вскрытия шлаковой летки необходимо отвести стопор. После этого легкими ударами пики пробивают корочку застывшего шлака. В некоторых случаях (при работе печи на основных шлаках) вскрытие шлаковой летки затруднительно и ее пробивают с помощью лома и молотка. Иногда летку приходится прожигать кислородом.

Верхний шлак выпускают при полном давлении дутья попеременно через обе шлаковые летки. Если струя шлака слабая или прерывистая, отверстие прочищают пикой. Выпуск заканчивают после продувки летки газами, выходящими из печи. Через 10 - 12 мин заменяют шлаковые ковши и опять открывают летку.

В связи с ростом производительности печей количество шлака, выпускаемого через шлаковые летки, возрастает. Это требует от горнового большого внимания во время работы. Иногда в шлаке запутываются корольки металла, которые могут прожечь шлаковую фурмочку. Прогар фурмы можно обнаружить по "хлопку". При прогаре фурмы охлаждающая вода, соприкасаясь со шлаком, разлагается. Водород, выходя из летки, начинает гореть, что свидетельствует о повреждении шлаковой фурмы. Во всех случаях прогара шлаковой фурмы летку немедленно закрывают, иначе может сгореть весь шлаковый прибор, что вызывает длительный простой печи для его замены.

Одна из шлаковых леток несколько смещена по высоте относительно другой. Выпуск верхнего шлака через летку, находящуюся на нижнем уровне, прекращают за 15 - 20 мин до выпуска чугуна. При необходимости все же выпускать шлак летку открывают после того, как будет налито 30 - 50 т чугуна.

Во время выпуска шлака запрещается находится против шлаковых леток, поскольку возможен внезапный выброс шлака, или "хлопок".

предыдущая главасодержаниеследующая глава








© METALLURGU.RU, 2010-2020
При использовании материалов сайта активная ссылка обязательна:
http://metallurgu.ru/ 'Библиотека по металлургии'
Рейтинг@Mail.ru
Поможем с курсовой, контрольной, дипломной
1500+ квалифицированных специалистов готовы вам помочь