НОВОСТИ   БИБЛИОТЕКА   КАРТА САЙТА   ССЫЛКИ   О ПРОЕКТЕ  






предыдущая главасодержаниеследующая глава

3. Производство окатышей

Продукт обогащения - железные концентраты представляют собой очень тонкую порошкообразную и влажную массу. Так, например, значительная часть концентратов глубокого обогащения содержит мельчайшие зерна руды размером менее 0,07 мм.

Агломерация тонкоизмельченных концентратов сопровождается резким снижением производительности машин из-за ухудшения газопроницаемости спекаемого слоя шихты.

Были разработаны новые методы окускования железных концентратов. Одним из таких методов является производство окатышей (окомкование), основанное на способности влажного концентрата при вращении в барабане или чаше образовывать комочки, которые затем обжигают на конвейерных машинах или в шахтных печах при температурах от 1000 до 1300°С.

Рис. 11. Чашевый окомкователь (с сырыми окатышами)
Рис. 11. Чашевый окомкователь (с сырыми окатышами)

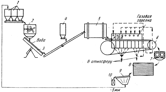
На рис. 11 показан общий вид чашевого окомкователя, а на рис. 12 - схема установки для получения и обжига окатышей.

Рис. 12. Схема установки для окомкования и обжига окатышей: 1 - шихтовые бункера; 2 - шнековый смеситель; 3 - дисковый окомкователь; 4 - бункер угольной или коксовой пыли; 5 - барабан для накатывания топлива; 6 - ленточная машина для обжига комков; 7 - двухвалковая зубчатая дробилка; 8 - барабан для отделения мелочи; 9 - виброгрохот; 10 - бункер для приема годных комков; А - камера подсушки верхнего слоя; Б - камера зажигания; В - камера обжига
Рис. 12. Схема установки для окомкования и обжига окатышей: 1 -шихтовые бункера; 2 - шнековый смеситель; 3 - дисковый окомкователь; 4 - бункер угольной или коксовой пыли; 5 - барабан для накатывания топлива; 6 - ленточная машина для обжига комков; 7 - двухвалковая зубчатая дробилка; 8 - барабан для отделения мелочи; 9 - виброгрохот; 10 - бункер для приема годных комков; А - камера подсушки верхнего слоя; Б - камера зажигания; В - камера обжига

Необходимая прочность окатышам придается в процессе их обжига. При повышении температуры обжига прочность окатышей возрастает. Например, лучшие свойства окатышей из криворожских концентратов были получены при температуpax обжига 1200 - 1300°С. Вместе с тем металлургические свойства сильно оплавленных окатышей ухудшаются, так как снижается их пористость и восстановимость. Обжиг окатышей из магнетитовых руд придает им прочность в результате окисления магнетита (Fe3О4) в гематит (Fe2О3) и изменения кристаллической решетки последнего. Таким образом, обжиг окатышей является основным процессом, определяющим прочность окатышей.

Качество агломерата и окатышей, поступающих в доменный цех, контролируют так же, как качество сырых материалов и топлива.

предыдущая главасодержаниеследующая глава








© METALLURGU.RU, 2010-2020
При использовании материалов сайта активная ссылка обязательна:
http://metallurgu.ru/ 'Библиотека по металлургии'
Рейтинг@Mail.ru
Поможем с курсовой, контрольной, дипломной
1500+ квалифицированных специалистов готовы вам помочь