НОВОСТИ   БИБЛИОТЕКА   КАРТА САЙТА   ССЫЛКИ   О ПРОЕКТЕ  






предыдущая главасодержаниеследующая глава

9. Кольцевой воздухопровод горячего дутья и фурменный прибор

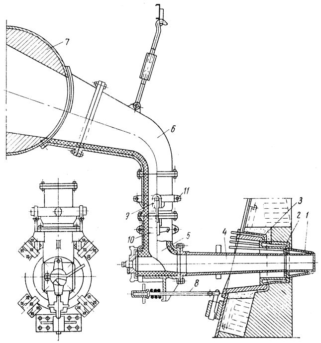
Нагретое дутье от воздухонагревателя к доменной печи подается по футерованному воздухопроводу, который переходит в кольцевой воздухопровод, расположенный выше воздушных фурм. Внутренний диаметр кольцевого воздухопровода на больших печах достигает 1500 мм.

Воздухопровод горячего дутья футеруют огнеупорным шамотным кирпичом класса А и Б в два ряда с перевязкой поперечных швов. Между кладкой и кожухом воздухопровода прокладывается слой в 10 - 12 мм из асбестовой бумаги или слой в 20 мм из глинисто-асбестовой массы. От кольцевого трубопровода к горну доменной печи воздух поступает через фурменный прибор (рис. 24).

Рис. 24. Фирменный прибор: 1 - воздушная фурма; 2 - амбразура (холодильник); 3 - кадушка (холодильник); 4 - сопло; 5 - подвижное колено; 6 - неподвижное колено; 7 - кольцевой воздухопровод; 8 - натяжной болт; 9 - серьги; 10 - клин; 11 - обойма
Рис. 24. Фирменный прибор: 1 - воздушная фурма; 2 - амбразура (холодильник); 3 - кадушка (холодильник); 4 - сопло; 5 - подвижное колено; 6 - неподвижное колено; 7 - кольцевой воздухопровод; 8 - натяжной болт; 9 - серьги; 10 - клин; 11 - обойма

Для создания необходимой плотности при небольших перекосах в местах соединения подвижных и неподвижных частей фурменного прибора предусмотрены шаровые заточки. Подвижное колено со стороны рабочей площадки заканчивается гляделкой, через которую наблюдают за состоянием фурм и горением кокса в печи. Через открытую гляделку фурму, сопло и колено очищают от шлака. При помощи шаровой заточки подвижное колено соединено с соплом. Сопла бывают литыми из чугуна или стали, футерованными и охлаждаемыми (рис. 25).

Рис. 25. Футерованное охлаждаемое сопло
Рис. 25. Футерованное охлаждаемое сопло

предыдущая главасодержаниеследующая глава








© METALLURGU.RU, 2010-2020
При использовании материалов сайта активная ссылка обязательна:
http://metallurgu.ru/ 'Библиотека по металлургии'
Рейтинг@Mail.ru
Поможем с курсовой, контрольной, дипломной
1500+ квалифицированных специалистов готовы вам помочь