НОВОСТИ   БИБЛИОТЕКА   КАРТА САЙТА   ССЫЛКИ   О ПРОЕКТЕ  






предыдущая главасодержаниеследующая глава

10. Газоотводы. Газоочистительные устройства

Газ из доменной печи удаляется по газоотводам, переходящим в верхней части в "свечи" (прямые трубы, оканчивающиеся атмосферным клапаном). Число газоотводов обычно равно четырем. Их общее сечение в месте присоединения к кожуху составляет от 0,4 до 0,5 площади колошника, что обеспечивает сравнительно небольшую скорость газа при выходе его из печи.

Равномерное удаление газа из печи имеет очень важное значение для равномерного распределения газа, проходящего через столб шихты. Газоотводы соединяют симметрично, сначала попарно, а затем в один газопровод, нисходящий под углом не менее 30°.

Газоотводы внутри футеруют литыми износоустойчивыми плитами, а свечи и наклонный газопровод - шамотным кирпичом.

Газ движется в доменной печи с большой скоростью, проходит через столб шихты и захватывает с собой мелкие ее частицы, которые образуют колошниковую пыль. Доменный газ используется на заводах как энергетическое топливо. Но прежде чем газ использовать, предварительно его очищают от пыли, содержание которой доходит до 20 г/м3 газа, а иногда и более. При большом количестве мелких фракций в доменной шихте вынос пыли может доходить до 100 г/м3 газа, что зависит и от технологических причин. К ним относятся прежде всего:

а) характер хода печи - чем ровнее работает печь, тем меньше вынос;

б) давление и температура газов, уходящих из печи - чем выше давление, тем меньше вынос, и чем выше температура, тем больше объем и скорость газа и больше вынос;

в) интенсивность работы печи - чем она выше, тем больше образуется газа, тем больше его скорость и тем больше абсолютный вынос пыли.

К наиболее эффективным мероприятиям, снижающим вынос пыли, относится повышение давления газа под колошником, так как уменьшаются скорости газа в столбе шихтовых материалов. В результате перехода доменных печей на работу при высоком давлении газа под колошником количество выносимой пыли значительно сократилось и очистка газа пыли облегчилась.

Применяют три ступени очистки газа: грубую, полутонкую и тонкую. Газ из доменной печи по газопроводам поступает сначала в пылеуловитель, где происходит грубая очистка. После нее содержание пыли в газе снижается до 1 - 3 г/м3.

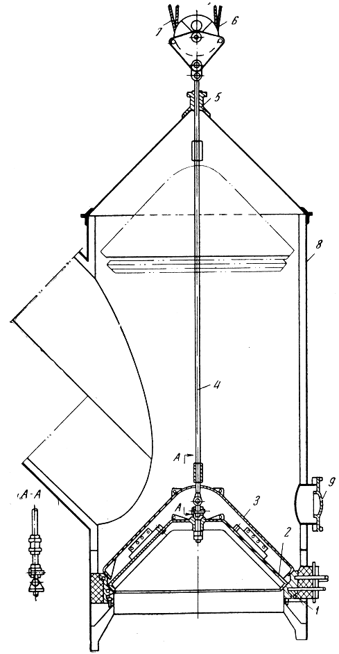
Многие доменные печи оборудованы двумя пылеуловителями (рис. 26). В первом пылеуловителе под действием собственного веса более крупные частицы пыли выпадают из потока газа, поскольку скорость газа из-за резкого увеличения объема сильно уменьшается. Кроме того, подаваемый газ в пылеуловителе изменяет направление своего движения. Поступающие с газом частицы пыли по инерции устремляются к низу, в конусную часть пылеуловителя. Газ, поднимаясь кверху, оставляет часть колошниковой пыли в первом пылеуловителе, поступает через газопровод во второй пылеуловитель. В первом пылеуловителе осаждается до 60% содержащейся в газе пыли. Ко второму пылеуловителю газ подводится по газопроводу, который в месте присоединения (по касательной) к верхней части второго пылеуловителя имеет прямоугольное сечение. Тангенциальный подвод газа обусловливает вращательное движение газа в пылеуловителе. Под действием центробежной силы пыль прижимается к стенке, теряет живую силу и как бы стекает вниз. Пылеуловители такого типа называются циклонами.

Рис. 26. Пылеуловители доменной печи
Рис. 26. Пылеуловители доменной печи

До повышения давления под колошником обычно устанавливали два, а в некоторых случаях три пылеуловителя на одну доменную печь. В настоящее время предусматривают один пылеуловитель на одну доменную печь. Объем пылеуловителя зависит от объема доменной печи. Пылеуловители футеруют шамотным кирпичом для предохранения от износа металла пылью, движущейся с большой скоростью.

В нижней конической части пылеуловителей предусмотрены пылевыпускные клапаны, позволяющие удалять пыль в вагоны, не снижая давления газа в магистрали. Описание оборудования для выпуска пыли см. в гл. XII.

Для отключения доменной печи от газовой магистрали за пылеуловителем устанавливают задвижки или клапаны конусного типа.

Отсечной клапан конусного типа (рис. 27) состоит из стального седла 1, двух стальных конусов 2 и 3, штанги 4 с подвесками и уплотнения 5. В последнее время применяется лабиринтно-паровое уплотнение штанги.

Рис. 27. Отсечной газовый клапан
Рис. 27. Отсечной газовый клапан

Конусный клапан при помощи штанги 4, блока 6, каната 7 и электролебедки перемещается по вертикальным направляющим внутри металлического корпуса 5, защищенного, как правило, стальными плитами. В закрытом положении через седло в пространство между конусами 2 и 3 подается пар. Люк 9 в корпусе клапана служит для осмотра конусов и крепления к ним штанги. Этим клапаном пользуются только при кратковременных остановках, так как по контактной поверхности между седлом и конусом возможны пропуски газа. Наиболее надежное отключение достигается секторными задвижками.

Секторные задвижки могут быть установлены после пылеуловителей или после аппарата полутонкой очистки-скруббера. Опыт показал, что секторные задвижки, которые установлены после пылеуловителей на печах, работающих с повышенным давлением, быстро изнашиваются пылью. Поэтому их чаще стали устанавливать на трубопроводе получистого газа. Существуют секторные задвижки нетермического и термического действия. В первом случае корпус сжимается и разводится механизмом, приводимым в действие через червячные передачи, а во втором случае - термическим расширителем. Секторная (листовая) задвижка термического действия (рис. 28) состоит из двух раздельных стальных корпусов с компенсаторами. Чтобы закрыть или открыть задвижку, необходимо сначала разжать корпуса и после перемещения задвижки зажать их терморасширителями. Между корпусами перемещается фигурная листовая задвижка 6. Корпуса крепятся к литым фланцам газопровода болтами. Для сжатия и разъедания корпусов используется электрический или паровой термоэлемент. Стальные корпуса в трех местах (на одинаковых расстояниях по окружности) связаны тягами, которые соединены с телом корпуса так, что из трех тяг, связанных общей обоймой 4 для каждого участка, одна тяга 3 связана с одним корпусом, а две других 2 - со вторым корпусом. С другой стороны тяги закреплены через обойму 5 на кожухе газопровода. Чтобы освободить зажатую задвижку, тяги каждого участка нагреваются при помощи парового или электрического (элементов сопротивления) термоэлементов. Для быстрого зажима задвижки применяется водяное охлаждение термоэлементов. Задвижки поворачиваются вокруг оси 1 электроприводом или вручную. Управление задвижкой находится рядом с помещением КИП.

Рис. 28. Секторная листовая задвижка термического действия
Рис. 28. Секторная листовая задвижка термического действия

Для обеспечения необходимой плотности на задвижке и корпусах предусмотрены шлифованные выступающие кольцевые заточки. Из второго пылеуловителя газ поступает во вторую ступень для полутонкой очистки, которая осуществляется в мокрых пылеуловителях, называемых скрубберами. Степень очистки в скрубберах при обычном давлении газа под колошником составляет 0,1 - 0,7 г/м3.

При высоком давлении она достигает 0,05 г/м3. Это объясняется тем, что при сжатии газа из-за снижения его скорости содержащиеся в газе частицы пыли лучше контактируют с частицами воды в скруббере. Кроме того, при высоком давлении газа вынос пыли из доменной печи сокращается.

Скруббер (рис. 29) представляет собой металлический сосуд 1, к которому газ от сухих пылеуловителей подводится снизу. Диаметр скруббера меньше, чем пылеуловителя, а высота больше.

Рис. 29. Скруббер для мокрой полутонной очистки газа
Рис. 29. Скруббер для мокрой полутонной очистки газа

Внутри скруббера находится несколько ярусов деревянной насадки 2, через которую снизу вверх проходит газ. Над насадкой распыливается вода. Увлекаемая водой пыль скапливается в нижней части скруббера, откуда в виде шлама непрерывно удаляется через специальный водяной затвор.

Тонкая очистка газа возможна мокрым способом в дезинтеграторах, электрических газоочистках и сухим способом - путем фильтрации газа через специальные ткани.

Дезинтегратор представляет собой мощный вентилятор, который засасывает газ из газопровода, очищает от пыли и затем направляет в водоотделитель. Очистка в нем происходит в результате тщательного перемешивания пыли с мельчайшими частицами воды, которые отбрасываются ротором к стенкам. Подаваемая на стенки вода смывает капельки воды, содержащие частицы пыли. Производительность дезинтеграторов достигает 80000 м3/ч. При этом степень очистки составляет 0,15 - 1 г/м3, а расход воды 0,5 - 0,6 дм33, При меньшем количестве газа степень очистки его может быть повышена до 0,02 г/м3 газа.

Из дезинтегратора часть воды в виде тумана уносится с газом. Для удаления воды за каждым дезинтегратором устанавливают водоотделитель, который состоит из металлического кожуха цилиндрической формы. В середине его установлены два ряда насадки, между которыми загружены керамические или металлические кольца. Газ подводится снизу и проходит фильтр из колец, где в результате соприкоснования с большой поверхностью фильтра вода конденсируется и стекает в гидравлический затвор, а затем в шламоотвод. В последнее время получили распространение мокрые электроочистительные аппараты (рис. 30). В верхней части цилиндрического металлического сосуда находятся две секции электрофильтров, а в нижней его части - четыре зоны деревянных насадок с брызгалами. Подведенный снизу газ проходит орошаемые насадки, а затем электрофильтры, состоящие из труб с коронирующими электродами. Осажденная на электродах пыль периодически смывается водой, которая стекает в гидрозатвор, находящийся в нижней конической части корпуса. Производительность такого агрегата достигает 40000 м3/ч, расход воды на 1000 м3 газа составляет 3,5 - 4 м3, степень очистки 0,07 - 0,20 г/м3 газа.

Рис. 30. Электрогазоочистка
Рис. 30. Электрогазоочистка

Для повышения давления газа под колошником доменные печи оборудуют типовой дроссельной группой, которую устанавливают на газопроводе после скруббера. Дроссельная группа состоит из пяти дросселей различного диаметра. Дроссели (рис. 31) через специальные форсунки обильно орошаются водой, чтобы не происходило забивания их пылью. Дроссели диаметром 750 мм снабжены дистанционным управлением, а дроссель диаметром 400 мм работает автоматически в зависимости от заданного давления газа. Управление дроссельной группы осуществляется из здания КИП доменной печи.

Рис. 31. Дроссельная группа: 1 - дроссели диаметром 750 мм; 2 - дроссели диаметром 400 мм; 3 - кольцевая труба, подводящая воду к дросселям
Рис. 31. Дроссельная группа: 1 - дроссели диаметром 750 мм; 2 - дроссели диаметром 400 мм; 3 - кольцевая труба, подводящая воду к дросселям

Длительная практика работы доменных печей при высоком давлении газа показала, что, проходя через скруббер высокого давления и дроссельную установку, газовый поток очищается более чем на 99% от содержащейся в нем пыли, содержание которой в газе снижается до 0,01 г/м3. Поэтому почти полностью отпадает необходимость в электрогазоочистке и дезинтеграторах, в результате чего резко снижается расход электроэнергии на очистку газа.

Все газопроводы и газоочистительные устройства снабжены свечами для выпуска газа в случае необходимости.

предыдущая главасодержаниеследующая глава








© METALLURGU.RU, 2010-2020
При использовании материалов сайта активная ссылка обязательна:
http://metallurgu.ru/ 'Библиотека по металлургии'
Рейтинг@Mail.ru
Поможем с курсовой, контрольной, дипломной
1500+ квалифицированных специалистов готовы вам помочь