НОВОСТИ   БИБЛИОТЕКА   КАРТА САЙТА   ССЫЛКИ   О ПРОЕКТЕ  






предыдущая главасодержаниеследующая глава

11. Засыпной аппарат и загрузочные устройства

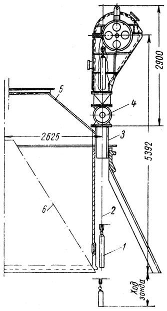
Шихтовые материалы в доменную печь загружаются с помощью засыпного аппарата, который является частью верхнего строения доменной печи. На рис. 32 показана верхняя часть печи с загрузочными устройствами, засыпным аппаратом и скиповым подъемником.

Рис. 32. Верхнее строение доменной печи с запасным аппаратом: 1 - наклонный мост; 2 - скип; 3 - канаты скиповой лебедки; 4 - шкив для канатов скипов; 5 - приемная воронка; 6- распределитель шихты; 7 - малый корпус; 8 - газовый затвор; 9 - большой конус; 10 - чаша большого конуса; 11 - штанга большого конуса; 12 - система подвески конусов; 13 - балансир большого кожуха; 14 - балансир малого кожуха; 15 - канаты малого и большого конусов
Рис. 32. Верхнее строение доменной печи с запасным аппаратом: 1 - наклонный мост; 2 - скип; 3 - канаты скиповой лебедки; 4 - шкив для канатов скипов; 5 - приемная воронка; 6- распределитель шихты; 7 - малый корпус; 8 - газовый затвор; 9 - большой конус; 10 - чаша большого конуса; 11 - штанга большого конуса; 12 - система подвески конусов; 13 - балансир большого кожуха; 14 - балансир малого кожуха; 15 - канаты малого и большого конусов

Для замены засыпного аппарата и другого оборудования, расположенного на колошнике, предусмотрена монтажная тележка, передвигающаяся по рельсам. Рельсы укреплены на консольных балках, которые в свою очередь жестко прикреплены к копру колошника. Грузоподъемность монтажной тележки на больших печах составляет 50 - 100 т. Ею пользуются во время ремонтов при остановленной доменной печи.

Засыпной аппарат (рис. 33) состоит из большого конуса и чаши, газового затвора, распределителя шихты и приемной воронки. В результате вращения распределителя шихта равномерно распределяется по сечению колошника печи.

Рис. 33. Засыпной аппарат: 1 - роликовые подшипники распределителя шихты; 2 - жесткое крепление роликовых подшипников; 3 - уплотнение распределителя; 4 и 5 - кольца уплотнения; 6 - воронка; 7 - малый конус; 8 - фланец распределителя; 9 - кожух газового затвора; 10 - опорное кольцо; 11 - редуктор распределителя; 12 - большой конус; 13 - чаша большого конуса; 14 - зондовое устройство для замера уровня шихты
Рис. 33. Засыпной аппарат: 1 - роликовые подшипники распределителя шихты; 2 - жесткое крепление роликовых подшипников; 3 - уплотнение распределителя; 4 и 5 - кольца уплотнения; 6 - воронка; 7 - малый конус; 8 - фланец распределителя; 9 - кожух газового затвора; 10 - опорное кольцо; 11 - редуктор распределителя; 12 - большой конус; 13 - чаша большого конуса; 14 - зондовое устройство для замера уровня шихты

Шихтовые материалы поднимаются на колошник скиповым подъемником и ссыпаются в приемную воронку; малый конус в это время закрыт. Затем вращающийся распределитель поворачивается на заданное количество градусов (60°, 30°, 15°), малый конус открывается и шихта ссыпается на большой конус, который в это время закрыт. После накопления определенного количества скипов шихты в чаше большой конус открывается и шихта ссыпается в печь. Малый конус в это время закрыт, что предотвращает попадание доменных газов в атмосферу. Засыпной аппарат с распределителем шихты и скиповым подъемником шихты работает автоматически по заданной программе.

Для осмотра и проведения ремонтов надколошниковое устройство снабжено площадками, переходными мостиками и лестницами, что обеспечивает свободный доступ к оборудованию.

В связи с тем, что доменные печи работают при высоком давлении газа под колошником, требуется тщательное изготовление засыпного аппарата.

Соприкасающиеся поверхности отлитых из стали чаши и большого конуса наплавляют твердым сплавом - сормайтом, а затем шлифуют. Тщательная шлифовка должна обеспечивать плотное прилегание конуса к чаше. Пригонку контактных поверхностей проверяют щупом толщиной не более 0,05 мм, причем глубина его проникновения в стык не должна превышать 10 - 15 мм. Большой конус и чашу отливают из углеродистой стали.

Газовый затвор, сваренный из листовой стали, закрывающий сверху межконусное пространство, изготовляют обычно из двух частей: нижней цилиндрической, защищенной марганцевыми плитами, и верхней конической. Для смены малого конуса и осмотра засыпного аппарата в конической части газового затвора предусмотрены люки.

В верхней части большого конуса находится литой конус жесткости (рис. 34) и защитный литой конус, состоящий из двух половин. Конус жесткости служит для жесткого крепления штанги к большому конусу, а защитный конус - для предохранения узла соединения большого конуса со штангой от ударов шихты.

Рис. 34. Конус жесткости большого конуса
Рис. 34. Конус жесткости большого конуса

На рис. 35 изображена приемная воронка засыпного аппарата, воронка распределителя шихты и защитные кольца штанги малого конуса. Емкость воронки малого конуса должна соответствовать емкости скипа. Она предназначена для направления высыпающихся из скипов шихтовых материалов к центру воронки распределителя и подвергается ударному и истирающему воздействию падающих кусков шихты. Для предохранения от преждевременного износа внутренняя поверхность воронки футеруется литыми плитами из износоустойчивой марганцевой стали.

Рис. 35. Приемная воронка засыпного аппарата: 1 - защитные кольца штанги малого конуса; 2 - штанга большого конуса; 3 - приемная воронка
Рис. 35. Приемная воронка засыпного аппарата: 1 - защитные кольца штанги малого конуса; 2 - штанга большого конуса; 3 - приемная воронка

Распределитель шихты предназначен для равномерного распределения шихтовых материалов и расположен под приемной воронкой на верхнем фланце газового затвора.

Малый конус подвешен на пустотелой штанге, которая соединена с подвесками балансиров через головку, опирающуюся на роликовый подпятник. Штанга малого конуса защищена от истирания шихтой кольцами из марганцовистой стали. Толщина защитных колец равна 80 мм. В месте наибольшего износа на некоторых заводах начали применять кольца толщиной 110 мм. Штанги малого и большого конусов могут быстро изнашиваться, если между ними не будет уплотнения (рис. 36).

Рис. 36. Характер износа штанги большого конуса из-за неисправного уплотнения между штангами
Рис. 36. Характер износа штанги большого конуса из-за неисправного уплотнения между штангами

При опускании большого конуса запыленный газ из печи стремится пройти в зазоры между штангами и в течение одного - двух месяцев может вывести из строя обе штанги. Особенно быстро штанги изнашиваются, если печь работает при высоком давлении газа под колошником.

Уплотнение между штангами малого и большого конусов достигается различными способами (рис. 37). Наиболее распространенным уплотнением является паровое. Так как давление пара, поступающего в уплотнение, выше давления газа, это препятствует просачиванию последнего через зазор между штангами.

Рис. 37. Одна из новых конструкций уплотнения между штангами: 1 - вкладыши; 2 - верхняя грундбукса; 3 - корпус; 4 - нижняя грундбукса; 5 - сальниковая (асбестовая) набивка; 6 - прокладка
Рис. 37. Одна из новых конструкций уплотнения между штангами: 1 - вкладыши; 2 - верхняя грундбукса; 3 - корпус; 4 - нижняя грундбукса; 5 - сальниковая (асбестовая) набивка; 6 - прокладка

Малый конус делают литым из двух половин. Тело малого конуса изнашивается через 5 - 8 месяцев, после чего конус меняют. Поэтому в последнее время стали применять малые конусы, наплавленные сормайтом или с дополнительными контактными сменяемыми кольцами (рис. 38).

Рис. 38. Нижняя часть воронки распределителя шихты и малый конус с дополнительными контактными кольцами
Рис. 38. Нижняя часть воронки распределителя шихты и малый конус с дополнительными контактными кольцами

Вращающаяся воронка состоит из двух частей. Верхняя часть сварена из листовой стали и внутри защищена плитами. Нижняя часть отлита из износоустойчивой стали и состоит из наружной и внутренней воронок. Для увеличения срока службы воронки распределителя шихты ее усиленно бронируют.

Уязвимым местом распределителя шихты являются поверхности сопряжения наружной и внутренней частей, так как в этом месте возможен пропуск газа. Во избежание этого применяют сальниковые уплотнения из прографиченного асбестового шнура квадратного сечения 50X50 и 25x25 мм с паровым подпором. Чтобы в уплотнение вместе с газом не попадала абразивная пыль, а также чтобы смазка не выгорала и не коробились уплотнительные кольца, в шести местах подводится пар. На рис. 39 показана одна из конструкций применяемого сальникового уплотнения.

Рис. 39. Сальниковое уплотнение вращающегося распределителя шихты
Рис. 39. Сальниковое уплотнение вращающегося распределителя шихты

Чтобы воронка распределителя шихты вращалась вместе с малым конусом, необходимо также обеспечить вращение и штанги малого конуса, так как она крепится к малому конусу жестко. Поскольку подвески балансиров не могут вращаться, то для вращения штанги предусмотрены подпятник и роликовый подшипник. Штанга малого конуса через фланец опирается на подшипник, прикрепленный к подвескам балансира малого конуса.

Работа большого конуса при высоком давлении газа под колошником немыслима без уравновешивания давления в пространствах под и над ним, так как в противном случае пришлось бы для его открывания прикладывать огромные усилия. Для опускания малого конуса необходимо также выравнивать давление между межконусным пространством и атмосферой. Поэтому засыпные аппараты оборудованы двумя комплектами уравнительных клапанов.

Уравнительными перепускными клапанами управляют или через канаты лебедками, или через редуктор и провод, расположенный у засыпного устройства. Эти клапаны могут работать по следующим режимам:

а. Уравнительный клапан малого конуса закрывается только на период опускания большого конуса. Перед опусканием большого конуса открывается уравнительный клапан большого конуса. Этот режим называется основным.

б. Уравнительный клапан большого конуса открывается только перед опусканием большого конуса. Уравнительный клапан малого конуса открывается только на период опускания малого конуса.

в. Уравнительный клапан большого конуса закрывается только на период опускания малого конуса. Перед опусканием малого конуса открывается уравнительный клапан малого конуса. Этот режим называется дополнительным.

При работе доменных печей на горячем агломерате и при высоком давлении газа под колошником во избежание взрывов в межконусном пространстве подача пара в него является обязательной. После ссыпания шихты с большого конуса и сброса газа через уравнительный клапан малого конуса в межконусном пространстве остается газ. В момент открытия малого конуса вместе с горячим агломератом засасывается воздух, который может образовать гремучую смесь.

На ряде заводов пар в межконусное пространство подается через систему уравнительных клапанов следующим образом.

Во время набора шихты на большой конус подача пара уменьшается, уравнительный клапан малого конуса открывается и в межконусном пространстве не создается избыточного давления, препятствующего ссыпанию материалов с малого конуса. По окончании набора шихты на большой конус межконусное пространство продувается несколько секунд паром, после чего уравнительный клапан малого конуса закрывается. Затем через уравнительный клапан большого конуса в межконусное пространство поступает газ, что создает над большим конусом давление почти равное давлению под ним. При опускании большого конуса на время ссыпания шихты паровой и уравнительный клапаны большого конуса закрываются. После того как большой конус поднимается, выхлопной клапан вновь открывается и цикл начинается снова. Поступление пара сблокировано с системой загрузки; без подачи пара в межконусное пространство механизмы загрузки не работают.

Опускающиеся шихтовые материалы освобождают место для новых порций, поэтому уровень шихты на колошнике необходимо замерять.

Для этого на печах предусмотрены специальные устройства, состоящие из двух зондов и канатов к ним, которые тросами соединены с барабанами лебедок.

Рис. 40. Схема установки зондовой лебедки, зонда и КИП
Рис. 40. Схема установки зондовой лебедки, зонда и КИП

На рис 40 показана схема зондового устройства. Зонд связан с контрольно-измерительными приборами, показывающими уровень шихты. На рис. 41 изображено устройство зонда. Зондовые лебедки сблокированы с лебедкой большого и малого конусов засыпного аппарата. При достижении заданного уровня шихты в печи, т. е. когда печь заполнена, система загрузки отключается.

Рис. 41. Устройство зонда: 1 - груз; 2 - цепь; 3 - патрубок; 4 - кран; 5 - купол печи; 6 - большой конус
Рис. 41. Устройство зонда: 1 - груз; 2 - цепь; 3 - патрубок; 4 - кран; 5 - купол печи; 6 - большой конус

Сравнительно недавно на некоторых отечественных доменных печах вместо зондовых устройств начали применять уровнемеры шихты, работа которых основана на использовании радиоактивных гамма-лучей, причем уровень шихты в печи непрерывно регистрируется на приборе.

Большой и малый конусы через штанги и подвески крепятся к плечам рычагов балансиров. Штанга малого конуса пустотелая, через нее проходит штанга большого конуса. Для опускания и подъема конусов на большинстве советских доменных печей применяют комбинированную двухбарабанную электролебедку, с помощью которой последовательно опускаются и поднимаются конусы. Конусные лебедки размещаются в помещении скиповых лебедок.

В последние годы на некоторых доменных печах работой конусов управляют с помощью гидроприборов, применение которых упрощает схему маневрирования конусами и исключает канатную тягу.

В связи с переводом доменных печей на высокое давление газа стойкость засыпных аппаратов снизилась и в отдельных случаях не превышает 1 - 1,5 лет. Для увеличения стойкости был предложен ряд новых конструкций засыпных аппаратов, причем некоторые из них в опытном порядке были установлены на отдельных действующих доменных печах.

Таблица 10

Краткая характеристика типовых засыпных аппаратов и распределителей шихты конструкции УЗТМ

В табл. 10 приведена краткая характеристика типовых засыпных аппаратов и распределителей шихты.

предыдущая главасодержаниеследующая глава








© METALLURGU.RU, 2010-2020
При использовании материалов сайта активная ссылка обязательна:
http://metallurgu.ru/ 'Библиотека по металлургии'
Рейтинг@Mail.ru
Поможем с курсовой, контрольной, дипломной
1500+ квалифицированных специалистов готовы вам помочь